تكنولوجيا
أعمال
قادة
فيديو
المجلة
اختيار المحررين
English
Search for:
أهم ما يحدث في عالم التكنولوجيا والأعمال على مستوى المنطقة والعالم بالعربية
البريد الإلكتروني
*
HP Name
أهم ما يحدث في عالم التكنولوجيا والأعمال على مستوى المنطقة والعالم بالعربية
الملخص - أخبار منتقاة من المنطقة كل أسبوع
البريد الإلكتروني
*
HP Name
عبر تسجيلك، أنت تؤكد أن عمرك يزيد عن 18 عاماً وتوافق على تلقي النشرات البريدية والمحتوى الترويجي، كما توافق على شروط الاستخدام وسياسة الخصوصية الخاصة بنا. يمكنك إلغاء اشتراكك في أي وقت.
google-news (1)
Close
تكنولوجيا
الذكاء الاصطناعي
أخبار التكنولوجيا
إلكترونيات
برمجيات
أعمال
الأمن السيبراني
التقنية المالية
أخبار الشركات
مستقبل الحوسبة مع AMD
قادة
مقابلات خاصة
مقالات رأي
فيديو
مقابلات مصورة
ريلز
من المنطقة
المجلة
اختيار المحررين
الملخص
عن مينا تك
About Us
أعلن معنا
Advertise with Us
تواصل معنا
Contact Us
الوظائف
Careers
google-news (1)
Search for:
تكنولوجيا
الذكاء الاصطناعي
أخبار التكنولوجيا
إلكترونيات
تطبيقات وأدوات
أعمال
الأمن السيبراني
التقنية المالية
الشركات والأعمال
مستقبل الحوسبة مع AMD
قادة
مقابلات خاصة
مقالات رأي
فيديو
مقابلات مصورة
ريلز
من المنطقة
المجلة
اختيار المحررين
الملخص
google-news (1)
الملخص - أخبار منتقاة من المنطقة كل أسبوع
تبقيك نشرة مينا تك البريدية الأسبوعية على
اطلاع بأهم مستجدات التقنية والأعمال في المنطقة والعالم.
البريد الإلكتروني
*
عبر تسجيلك، أنت تؤكد أن عمرك يزيد عن 18 عاماً وتوافق
على تلقي النشرات البريدية والمحتوى الترويجي، كما توافق
على شروط الاستخدام وسياسة الخصوصية الخاصة بنا. يمكنك
إلغاء اشتراكك في أي وقت.
عن مينا تك
About Us
أعلن معنا
Advertise with Us
تواصل معنا
Contact Us
الوظائف
Careers
English
google-news (1)
إلكترونيات
طلبات شراء جالاكسي اس 7 تخيب آمال سامسونج
10 مارس, 2016
مقارنة بين بعض الهواتف الرائدة
10 مارس, 2016
دورة الألعاب الأولومبية ستعرض بدقة فائقة وبتقنية الواقع الإفتراضي
10 مارس, 2016
زيروكس الآن تترجم كل نص يُمكنك إعطاءه لها
10 مارس, 2016
عدسات جديدة للعيون باستخدام الخلايا الجذعية
10 مارس, 2016
أبرز سلبيات جالاكسي اس 7 ايدج
9 مارس, 2016
Oculus تضيف ميزات المشاركة والألعاب إلى نظارة سامسونج Gear
9 مارس, 2016
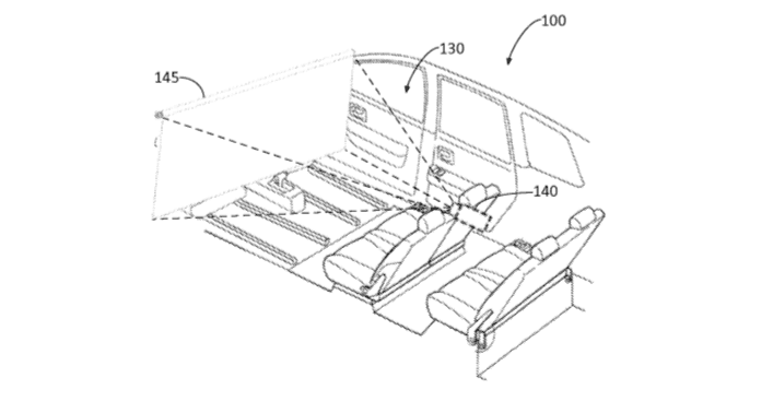
فورد تحصل على براءة اختراع شاشات سينما قابلة للإنزلاق على الزجاج الأمامي
9 مارس, 2016
رؤية بي إم دبليو الجديدة في المستقبل إبداع لا يضاهيه شيء
9 مارس, 2016
أبرز سلبيات جالاكسي اس 7 ايدج
9 مارس, 2016
عمر بطارية جالاكسي اس 7 أقل من المتوقع
8 مارس, 2016
تقرير جديد يوضح مواصفات ايفون 7 اس وايفون 8
8 مارس, 2016
بالفيديو : مقارنة بين جالاكسي اس 7 ايدج و ايفون 6 اس بلس
7 مارس, 2016
بالفيديو : كيف قامت سامسونج بتصميم هاتف مقاوم للماء
7 مارس, 2016
هواتف ابل تتفوق على سامسونج في سرعة الأداء
7 مارس, 2016
رجال الإطفاء باستراليا يستخدمون الطائرات الذكية في حالات الطوارىء
7 مارس, 2016
«السابق
التالي»
طلبات شراء جالاكسي اس 7 تخيب آمال سامسونج
10 مارس, 2016
مقارنة بين بعض الهواتف الرائدة
10 مارس, 2016
دورة الألعاب الأولومبية ستعرض بدقة فائقة وبتقنية الواقع الإفتراضي
10 مارس, 2016
زيروكس الآن تترجم كل نص يُمكنك إعطاءه لها
10 مارس, 2016
عدسات جديدة للعيون باستخدام الخلايا الجذعية
10 مارس, 2016
أبرز سلبيات جالاكسي اس 7 ايدج
9 مارس, 2016
Oculus تضيف ميزات المشاركة والألعاب إلى نظارة سامسونج Gear
9 مارس, 2016
فورد تحصل على براءة اختراع شاشات سينما قابلة للإنزلاق على الزجاج الأمامي
9 مارس, 2016
رؤية بي إم دبليو الجديدة في المستقبل إبداع لا يضاهيه شيء
9 مارس, 2016
أبرز سلبيات جالاكسي اس 7 ايدج
9 مارس, 2016
عمر بطارية جالاكسي اس 7 أقل من المتوقع
8 مارس, 2016
تقرير جديد يوضح مواصفات ايفون 7 اس وايفون 8
8 مارس, 2016
بالفيديو : مقارنة بين جالاكسي اس 7 ايدج و ايفون 6 اس بلس
7 مارس, 2016
بالفيديو : كيف قامت سامسونج بتصميم هاتف مقاوم للماء
7 مارس, 2016
هواتف ابل تتفوق على سامسونج في سرعة الأداء
7 مارس, 2016
رجال الإطفاء باستراليا يستخدمون الطائرات الذكية في حالات الطوارىء
7 مارس, 2016
«السابق
التالي»
عن مينا تك
About Us
تواصل معنا
Contact Us
أعلن معنا
Advertise with Us
الوظائف
Careers
عن مينا تك
About Us
تواصل معنا
Contact Us
أعلن معنا
Advertise with Us
الوظائف
Careers
مينا تك – أكبر منصة إعلامية باللغة العربية متخصصة في التكنولوجيا والأعمال
مينا تك – أكبر منصة إعلامية باللغة العربية متخصصة في التكنولوجيا والأعمال
حقوق النشر © 2026 مينا تك. جميع الحقوق محفوظة.